一、塔的平臺
塔平臺為從人孔、手孔處檢修設備;緊固法蘭;操作和維修調節閥組及檢修、安裝液面調節閥(fa)、大口徑閥門、檢測儀表、安(an)全閥等附件而設。
當下列附件需要布置在距地面3600mm以上,或距平臺面1800mm以上時,應考慮設置平臺(從地面至3600mm以下的高度時,可使用移動平臺):控制閥組;重沸器;人孔;安全閥;DN100以上的閥,電動閥;取樣裝置;DN200及以上的盲法蘭或“8”字盲板;有必要增加法蘭的地方;液位計。
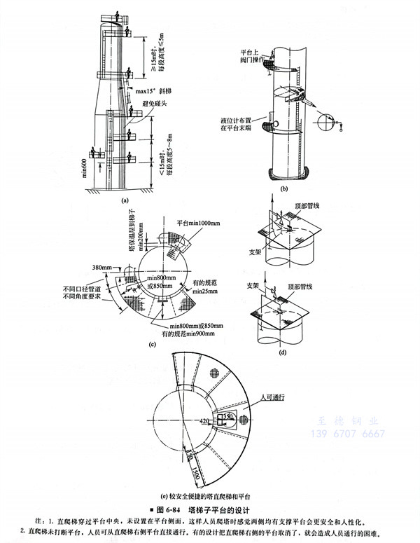
現有的平臺(tai)寬度(du)一(yi)般為(wei)1000~1500mm。人(ren)孔用平臺(tai)最小寬度(du)為(wei)1000mm。
塔(ta)頂平(ping)臺(tai)是為操作吊柱(zhu)、放空(kong)閥(fa)和(he)維(wei)修安全閥(fa)設置(zhi)的,可制成方形,大小(xiao)按需要確(que)定。此外(wai),還應考慮如下事項(xiang)。
①. 人孔(kong)中心線以(yi)距平(ping)臺600~1000mm為宜,最(zui)適宜高(gao)度為750mm(SH 3011規定平(ping)臺距人孔(kong)底部(bu)不宜大于800mm)。
②. 有兩個(ge)以上塔設備并(bing)列(lie)的(de)情況下,建議(yi)統一平臺(tai)(tai)標高,做(zuo)聯合平臺(tai)(tai)。平臺(tai)(tai)應設防護欄(lan)(lan)桿(gan)和踢(ti)腳(jiao)板,欄(lan)(lan)桿(gan)高度以1.2m為(wei)宜;平臺(tai)(tai)的(de)進出口處應有自動復(fu)位欄(lan)(lan)桿(gan);影(ying)響檢修的(de)欄(lan)(lan)桿(gan)段,應為(wei)可拆卸的(de)。
③. 聯合(he)平臺應(ying)考慮各塔(ta)、架之間的熱脹及其移動因(yin)素,留(liu)有縫隙,加入適當的銷子。塔(ta)身用法(fa)蘭(lan)(lan)連接時(shi),應(ying)在法(fa)蘭(lan)(lan)下側設置平臺,平臺面與(yu)法(fa)蘭(lan)(lan)的距離不(bu)宜大于1.5m。
④. 通常,平(ping)臺的均布荷載為250~50~400kgf/㎡(2.5~4kPa)為宜,因維修或(huo)管(guan)架原因需要平(ping)臺承(cheng)擔更大(da)負(fu)荷時,須給設備(bei)工(gong)程師提出條件。
圖6-83~圖6-85所(suo)示(shi)為平臺設置的照片。


二(er)、吊(diao)柱
通常,塔的高度超(chao)過(guo)15m以(yi)上,及(ji)需滿足以(yi)下要求時需要設置吊柱:有填料時;有內件及(ji)附件裝卸的情(qing)況。
吊柱(zhu)布置應注意的事項如下(xia)。
①. 吊柱下方地面應留(liu)有充分的作業空(kong)間。
②. 應能(neng)達到(dao)塔上所有檢修和操作平臺(tai)的位置。
③. 在吊(diao)柱回(hui)轉覆蓋范(fan)圍內,應有(you)一處能夠避開所(suo)有(you)平臺和管道的豎直通道。
④. 吊柱應布置在(zai)檢修側(ce)范圍內。
吊柱(zhu)布置如圖6-86所示(shi)。

三、梯子
塔器上的(de)梯子(zi)幾(ji)乎都是直梯,是上下各層平臺(tai)以及安全逃生的(de)通道(dao),也可作為(wei)觀察、操作和(he)維修某些附件的(de)設(she)施。
需(xu)要經(jing)常上去(qu)進行(xing)操作(zuo)和(he)維修工作(zuo)的(de)平臺應設置梯子(zi);下列(lie)附件(jian)也可靠(kao)近直梯布置:3”及以下的(de)閥;各(ge)種液位計(ji)(ji)視鏡(jing);手孔(kong);壓力計(ji)(ji)等儀表。
梯子布置應注(zhu)意的事(shi)項如下:
①. 梯子的布(bu)置間距(ju)必(bi)須滿足GB50160《石(shi)油化工企業設(she)計防火規(gui)(gui)范(fan)》的規(gui)(gui)定。
②. 直梯(ti)寬度以(yi)0.4~0.6m為(wei)宜,高度超過2m時應加設安全護籠。
③. 塔平臺直梯應自(zi)下(xia)而上分段錯(cuo)開布置。
④. 高(gao)度在(zai)15m及以下時(shi),每(mei)段高(gao)5~8m為宜,超過15m時(shi),每(mei)段應不高(gao)于5m,否則(ze)應設(she)中(zhong)間(jian)休(xiu)息平臺(按SH3011的(de)規定)。
四、管(guan)口方位
塔(ta)的(de)管(guan)(guan)道與其他設備管(guan)(guan)道相比,其特點是根據工藝要求安排好(hao)管(guan)(guan)口和塔(ta)盤等(deng)內部結構(gou)的(de)關(guan)系,這種關(guan)系的(de)好(hao)壞(huai)對(dui)管(guan)(guan)道布置的(de)簡化(hua)、操作的(de)方便、檢修的(de)難易、是否經(jing)濟等(deng)有很大的(de)影響。因(yin)此,需(xu)要對(dui)塔(ta)的(de)內部結構(gou)、塔(ta)的(de)操作進行充分了解。
1. 人(ren)孔 從(cong)檢(jian)修(xiu)和操作上考慮,人(ren)孔方(fang)位(wei)應(ying)布置在(zai)檢(jian)修(xiu)側,且宜設(she)在(zai)同一(yi)(yi)垂線上,但不能朝向(xiang)(xiang)加(jia)熱爐和其他危險氣體發生區域;若有兩臺塔并列時,人(ren)孔應(ying)朝向(xiang)(xiang)一(yi)(yi)致(同一(yi)(yi)方(fang)向(xiang)(xiang))。對(dui)有塔盤(pan)等(deng)內(nei)部結構的塔,人(ren)孔開(kai)設(she)的方(fang)位(wei)必(bi)須(xu)注(zhu)意同內(nei)部構件的關系,應(ying)開(kai)設(she)在(zai)降液管以外的區域。
①. 塔頂(ding)人孔。注意到降(jiang)液盤區即可,但降(jiang)液管在300mm以下時,可圓周(360°)布(bu)置(圖 6-87)
②. 中間人孔。
③. 塔底人孔。


2. 儀(yi)表管口 儀(yi)表最好(hao)不要放在人孔旁(有(you)破損的危險(xian))。
①. 液位計和液位調(diao)節器的(de)開口應(ying)布置在便于監視(shi)、檢查及能從(cong)抽出泵和調(diao)節閥的(de)旁通處(chu)看(kan)得(de)見的(de)位置,且液面應(ying)不(bu)受(shou)流(liu)入液體沖(chong)擊的(de)影響。
②. 液位(wei)調節(jie)變送器,應設在(zai)平臺或梯子上操(cao)作方便的(de)地方,站在(zai)梯子平臺上操(cao)作的(de)液位(wei)調節(jie)器和液位(wei)計宜安裝在(zai)梯子的(de)右側。
③. 液(ye)(ye)(ye)(ye)位(wei)調節(jie)器最適(shi)宜(yi)的(de)位(wei)置(zhi)(zhi),是在檢查液(ye)(ye)(ye)(ye)位(wei)調節(jie)器時(shi),可以看到液(ye)(ye)(ye)(ye)位(wei)計的(de)地方;并應考(kao)慮由(you)于(yu)液(ye)(ye)(ye)(ye)相(xiang)進(jin)料影響的(de)液(ye)(ye)(ye)(ye)位(wei)波動(dong)。當設置(zhi)(zhi)的(de)擋板不能避(bi)免(mian)液(ye)(ye)(ye)(ye)位(wei)波動(dong)時(shi),應與設備專業協(xie)商(shang)解(jie)決液(ye)(ye)(ye)(ye)位(wei)計的(de)方位(wei),取決于(yu)受液(ye)(ye)(ye)(ye)槽(cao)與重(zhong)沸器返回(hui)口間的(de)關系(圖(tu)6-92、圖(tu)6-93)。
④. 兩個低溫液位計不要靠在(zai)一起,防止“冷橋”產(chan)生和(he)結(jie)霜(圖6-94)。
⑤. 壓力表開(kai)口(kou)和壓差計(ji)上(shang)部開(kai)口(kou)應布置(zhi)在(zai)氣(qi)相(xiang)區。框架內的塔,如果(guo)壓力表、溫度(du)計(ji)管口(kou)與結構梁過于(yu)接近,應考慮安裝的可能性(xing),必要時與設備工程師(shi)商量以進行修改。

3. 回(hui)流管、進料管和抽出管等布(bu)置(zhi)(zhi)(圖6-95~圖6-97)塔頂(ding)(ding)(ding)氣(qi)相(xiang)(餾出線)開(kai)口(kou)(kou)布(bu)置(zhi)(zhi)在塔頂(ding)(ding)(ding)頭蓋中(zhong)部,安全閥開(kai)口(kou)(kou)、放(fang)空管開(kai)口(kou)(kou)一般(ban)布(bu)置(zhi)(zhi)在塔頂(ding)(ding)(ding)氣(qi)相(xiang)開(kai)口(kou)(kou)的附近,也可將(jiang)放(fang)空管開(kai)口(kou)(kou)布(bu)置(zhi)(zhi)在塔頂(ding)(ding)(ding)氣(qi)相(xiang)管道最高水平(ping)段的頂(ding)(ding)(ding)部。
塔(ta)頂回(hui)流或中段回(hui)流的開口,一般布(bu)置在塔(ta)板(ban)的管道(dao)側(ce),回(hui)流管的內(nei)部結構和(he)開口方位與(yu)塔(ta)溢流方式有關。
氣(qi)相進料(liao)開口一(yi)般布(bu)置(zhi)在塔板上方,與降液(ye)管平行,當(dang)氣(qi)流(liu)速度較高時,應設分配管;氣(qi)液(ye)相混(hun)合進料(liao)開口一(yi)般布(bu)置(zhi)在塔板上方,并(bing)(bing)設分配管,當(dang)流(liu)速較高時應切線進入(ru),并(bing)(bing)設螺旋導板。
塔(ta)板的抽(chou)出口(kou):單溢流塔(ta)板,從流體的均衡性考慮,開(kai)口(kou)應與(yu)受液槽垂直布(bu)置;雙溢流塔(ta)板,無論是(shi)一個(ge)開(kai)口(kou)或是(shi)兩(liang)個(ge)開(kai)口(kou),開(kai)口(kou)都宜(yi)布(bu)置在與(yu)降液管平行的塔(ta)中心線上。


